電動弧門

● (一)主要技術參數
型號
進料口尺寸 mm
生產率
t/h
適用料倉直徑 mm
料倉容量
m3
重量
kg
DDF5050
500x500
20-300
400-800
2-6
280
DDF6060
600×600
50-400
800-1000
4-10
300
DDF8080
800×800
200-800
1000-1500
8-20
500
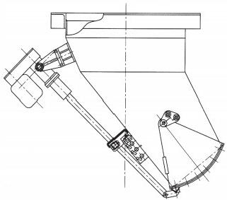
● (二)電動弧門外形如圖所示

注:除以上規格尺寸外,本廠還能承接各類非標準弧門卸料器的設計制作。
● (一)主要技術參數
型號 | 進料口尺寸 mm | 生產率 t/h | 適用料倉直徑 mm | 料倉容量 m3 | 重量 kg |
DDF5050 | 500x500 | 20-300 | 400-800 | 2-6 | 280 |
DDF6060 | 600×600 | 50-400 | 800-1000 | 4-10 | 300 |
DDF8080 | 800×800 | 200-800 | 1000-1500 | 8-20 | 500 |
● (二)電動弧門外形如圖所示
注:除以上規格尺寸外,本廠還能承接各類非標準弧門卸料器的設計制作。